ProSimPlus Python API
Process simulation, fully driven by Python
Seamlessly integrate process simulation into your Python workflows to automate, explore, and industrialize your studies.
Steady-State Process Simulator Driven by a Python API
ProSimPlus Python API lets you drive the ProSimPlus process simulator directly from Python, without relying on a graphical interface, while preserving the full power of the simulation engine.
It turns process simulation into an automatable software component, naturally embedded in today’s Python ecosystems (Visual Studio Code, Jupyter Notebooks, …).
Main features
- Complete automation: instant generation, simulation, and extraction of results with no manual intervention required.
- Seamless data integration: connectivity with databases, external programs, and digital twins to enable monitoring and optimization.
- Advanced analyses: sensitivity studies, robustness testing, and integration with optimization solvers to determine optimal operating conditions.
- Custom solutions: develop your own tools and applications built around the ProSimPlus calculation engine.
Learn more
Contact usA new approach to process simulation
ProSimPlus Python API unlocks the full power of the ProSimPlus process simulator directly from Python scripts.
Designed for modern engineering environments, this solution is intended for process engineers, data scientist, and automation specialist who want to integrate simulation into advances computational workflows.
Operating without a graphical interface, the API enables fully programmatic control of simulations.
Automate, Connect, Explore
With ProSimPlus Python API, simulations become an automatable software component, directly embedded within your computational pipelines and fully integrated into your workflows.
You can automatically generate, run, and analyze simulations, explore a large number of scenarios, and connect your models to external tools.
This approach accelerates engineering studies, improves their reproducibility, and opens the door to new use cases, particularly in artificial intelligence and digital twins.
A fully controllable simulation engine
The API is based on the ProSimPlus calculation engine, a steady-state continuous process simulator, accessible via Python. It allows users to load existing files, modify operating conditions, run calculations, and retrieve results in a structured way.
Simulations can be built or enhanced through scripting and controlled within the Python environment.
Interoperability and integration
The API is designed to integrate seamlessly into standard Python environments and existing infrastructures.
It enables simulations to be connected to databases, external tools, or computing platforms, facilitating the development of automated and reproducible workflows.
Results are available in structured formats (such as data frames), making them easy to leverage in data science libraries or visualization tools.
Data exchange with process generation tools is also possible, notably via the SFILES format.
Results utilization and visualization
Users can directly access mass and energy balances, thermodynamic properties, and the model’s internal variables.
Visualization features enable the automatic generation of diagrams and the display of computed profiles (temperature, pressure, composition), directly within the development environment, without requiring any additional graphical interface.
Reliability and traceability
Automating calculations helps reduce errors associated with manual handling and improves the reproducibility of studies.
Access to technical documentation and built-in validation mechanisms enhances the robustness of results and facilitates their use in an industrial context.
Simulation at the core of digital environments
With the ProSimPlus Python API, process simulation becomes a fully-fledged software component, integrated into workflows that combine modeling, data, and automation.
This approach enables engineering teams to go further in the analysis, optimization, and control of industrial processes.
Avec ProSimPlus Python API, la simulation de procédés devient un composant logiciel à part entière, intégré dans des workflows combinant modélisation, données et automatisation.
Robust and powerful thermodynamics
The ProSimPlus Python API integrates Simulis Thermodynamics, the thermodynamic core of Fives ProSim software.
This ensures consistency of thermodynamic data across all calculations.
-
Modeling & editing
– Complete process model creation via code
A script of just a few dozen lines is sufficient to define all units, streams, and parameters.
– ProSimPlus import (.pmp3)
Load a flowsheet built in the ProSimPlus GUI and control it entirely through Python scripts, without manual redefinition.
Benefit: full model reuse and batch-mode execution of simulations.
-
Execution
– Simulation execution in a single call
Run the entire process simulation with a single function call—directly from a notebook, batch script, or CI/CD pipeline.
Benefit: streamlined automation and increased engineering productivity.
– Full Python scripting
Build, customize, and simulate complete process models programmatically.
Define custom unit operations directly in Python, all within a single, integrated environment.
– Restart mode (Partial restart capability).
Recalculate only what has changed after a local update.
Benefit: quicker experimentation and significant time savings on large process models.
-
Integrated Analysis & Reporting
– Validation
A validation tree of parameters and connections is generated automatically, with no additional coding required.
Comprehensive reports are available, including profiles, mass and energy balances, and simulation runtimes.
Temperature profiles as well as mass and energy balances can be accessed directly.
Benefit: instantly review or deliver a complete technical report programmatically.
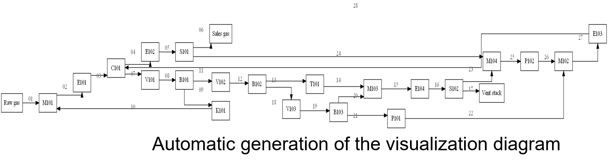
– Flowsheet Diagrams
The ShowGraph() function generates a directed flowsheet diagram ready for presentation slides.
Benefit: visualize and explain the solution without relying on external drawing tools.
-
Developer support
– Comprehensive documentation
Complete and interactive documentation is provided.
– Ready-to-use examples
Process examples originating from ProSimPlus are included.
Scripts and notebooks cover common use cases, allowing users to get started quickly by copying and adapting existing code.
Benefit: rapid onboarding and minimal learning curve.
– Contextual ShowHelp() function
When called on an object, it displays all available properties and methods.
Benefit: reduce time spent browsing documentation.
– IDE auto-completion
The Python API provides full auto-completion support in Python IDEs.
Benefit: prevent typos, code faster, and access inline documentation previews.
– Static helper functions for unit operation parameters and stream connections
Benefit: prevent configuration errors and limit reliance on external documentation.
-
Fiability & IT
-.NET 9 core combined with the ProSimPlus engine
Leverages the same proven computational core as ProSimPlus, embedded within a modern software environment.
Benefit: robust, proven performance and easier software compliance.
– Simplified packaging and installation
Simplified installation via pip (Python package manager).
Features Supporting Advanced Engineering Use Cases
ProSimPlus Python API addresses a wide range of concrete use cases, including:
- Loading and managing existing ProSimPlus models through Python scripts;
- Performing large-scale sensitivity analyses and parametric studies;
- Generating datasets to train AI models or surrogate models;
- Coupling process models with optimization algorithms or machine learning methods;
- Developing digital twins connected to operational data;
- Automating process calculations to accelerate innovation;
- Easily importing data using SFILES format (Simplified Flowsheet Input Line Entry Specification).








